(Dessins et photos F6GWO)
Mise à jour 22 décembre 2008
Disposition générale
Cette antenne décrite par l'amateur américain
W3HH, suivant les essais pratiqués par l'US Navy vers la fin des années
40
est apériodique, donc multibande et présente l'avantage d'être
non directive à la réception comme à l'émission
(ou presque).
Je pratique cette antenne depuis une trentaine d'années
et à la limite je m'étonne des guéguerres existantes
entre les défenseurs
et les détracteurs... je n'irai pas jusqu'à intégrer
le clan des détracteurs car lors de mon séjour sur l'Ile Amsterdam
(TAAF)
j'ai construit une antenne de secours W3HH pour remplacer une rombic de 120
m de coté, tombée suite à une tempète.
Non seulement les liaisons Amsterdam/Réunion ont été
complétement secourues mais vu la largeur de bande
exploitable, et ses qualités omnidirectionnelles, je pouvais assurer
la liaison avec Kerguelen, Crozet, Tampon, et la base
antarctique de Mac Murdow avec qui j'avais trois météos par
jour.
A la limite en ce qui concerne Kerguelen le souci était
que j'accrochais la liaison TOR entre Kerguelen et Paris,
ce qui n'étais pas prévu..... Le compte rendu de fin de séjour
se solda par l'installation de W3HH(s)
pour remplacer des doublets attaqués en delta sur lesquels on envoyait
n'importe quoi, oubliant que le delta
est monofréquence, mais bon, tout le monde n'est pas radioamateur et
il faut bien qu'un jour quelqu'un explique....
La W3HH n'est pas la panacée mais... en tant que militaire,
appelé à changer souvent de QRA (13 déménagements)
j'avoue que pour des jardins ou il suffit d'un rotofil pour faire la pelouse,
ce genre d'antenne qui ne demande qu'une
dizaine ou une quinzaine de mètres au sol rend les services qu'on lui
demande. J'adore me faire un Ja au petit déj' !
L'antenne est constituée d'un dipole replié
alimenté à l'origine par une ligne bifilaire d'impédance
600 ohms.
Elle est tendue suivant un angle de +-30° par rapport au sol. Cependant
l'utilisation d'une ligne coaxiale et d'un
transformateur d'impédance symétriseur correspond mieux aux
habitudes de notre époque. J'ai utilisé pour ma part
une résistance non inductive de 390 ohms, me donnant donc une
impédance ligne de 300 ohms attaquée par une
ligne de 75 ohms via un transformateur balun 4/1 plus boite d'accord. La résistance
doit pouvoir dissiper une puissance
égale à 35% de la puissance fournie à l'antenne.
Mon dernier changement de QRA m'a fait évidemment descendre, rajeunir,
remonter la vieille antenne qui avait
subi la tempête de 99 et finalement je charge actuellement via un coax
de 50 ohms. Tout va bien, j'utilise
naturellement un boite d'accord dont le rôle est d'adapter les impédances
émetteur/antenne (et non pas d'accorder l'antenne !
je le rappelle... contre un bon repas je vous accorde une tringle à
rideaux !) On verra par la suite, quand j'aurai rallongé
un peu l'antenne pour favoriser le 80 mètres, je ferai certainement
un transformateur 6/1 mieux adapté pour la ligne
50 ohms.

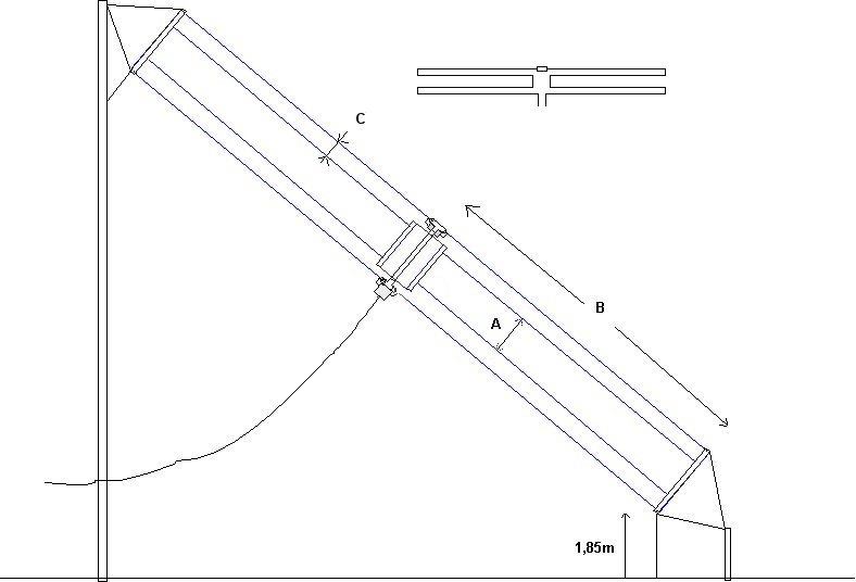
Voici les dimensions pratiquées pour cette antenne:
de 3.5 à 18 MHz : A = 0,86m - B = 14,30m - Hauteur
support = 17m
de 7 à 35 MHz : A = 0,45m - B = 7,15m - Hauteur support = 9,75m
avec la partie la plus basse à 1,85m du sol.
En règle générale A = 3/F , B = 50/F A et B en mètres pour la plus basse fréquence F à rayonner en MHz
Si la "difficulté" ne vous fait pas peur
je ne peux que vous conseiller de construire une ligne
d'alimentation 600 ohms en échelle à grenouille.

Gros plan sur le transformateur (4/1)

Vue d'ensemble de la partie centrale
Réflexions personnelles.
Comme je vous le disais au début (si vous en êtes là c'est
que ça vous intéresse!)
J'utilise cette antenne depuis plus de trente années, pour le pro et
pour le perso bien sûr.
Pour le pro on branchait et ça marchait ! Ce n'est qu'en travaillant
ma licence radioamateur...
(après la licence radiopro... on fait comme on peut !) que j'ai appris
qu'une antenne
"ça ne marchait pas comme ça...!" impédance...
fréquence de résonnance etc etc.
Je n'ai hélas jamais eu l'occasion d'avoir un terrain me permettant
d'installer une 3 éléments
onde entière rotative sur 40 mètres, alors
si vous êtes comme moi...
essayez la W3HH, j'ai fait le tour de la planète !
Je reçois (avec plaisir) un courrier abondant pour
la description de cette antenne.
J'en suis le premier étonné car je pensais franchement que tout
avait été dit
et qu'on avait largement fait le tour de la question !
Par contre, pour moi l'appellation "T2FD"
représente une autre antenne
(antenne rhombique raccourcie) qui bien que qualifiée de Tilted
Terminated Folded Dipole
est en fait un rectangle
de 30cm de largeur
tendu verticalement et
qui nécessite pour
fonctionner la présence d'un sol très bon conducteur.
Bien qu'étant large bande, ça reste
un doublet vertical qui a le meilleur rendement sur sa fréquence centrale
où il fonctionne
en demi onde. Imaginez un doublet vertical 80/40/20m qui ferait donc 20m de
hauteur
il faut déjà trouver le support ! Une telle antenne taillée
pour le 20/15/10m reste
dans des dimensions raisonnables avec une hauteur de 7m10 (+50cm du sol)
prévoyez un ou deux sac de sel pour améliorer
le sol (éventuellement !)
Vous me direz que cette appréciation n'engage que moi !
Je préfère la W3HH...
Je cherchais depuis un moment comment augmenter la longueur
électrique de l'antenne pour
améliorer le rendement sur 80m. En effet il y a sur 3.537MHz un nid
d'UFT légraphistes
et j'ai beaucoup de mal à me faire entendre. Il y avait plusieurs solutions...
soit changer d'antenne ?!... comment se séparer après tant d'années
de vie commune.
soit passer à la dimension prévue pour le 80 m, ce qui impliquait
de doubler la longueur et de
trouver un support à 17m ! soit remplacer les deux extrémités
du doublet par des inductances,
ce qui ne changerait pas le gabarit soit de replier le doublet d'une façon
ou d'une
autre sans trop changer l'aspect général...
Et c'est un article de F6DFZ qui me fit dire "bon sang
mais c'est bien sûr!"
Merci donc Georges d'avoir joué les St Gabriel...
J'ai donc comme F6DFZ remodélisé l'antenne sur
MMANA© le logiciel de JE3HHT pour
voir
les résultats sur ma configuration locale, je ne peux développer
que 15m entre les deux supports
et il semble que les résultats soient sensiblement approchants. Je
me lance donc dans la modif
après arrivage de fil téléphonique de campagne, ce qui
devrait donner à peu près ceci...

A = 40cm - B = 7,15m - C = 20cm
C'est parti !

Préparation de la partie centrale à l'aide de
matériel "électricité" tube diamètre
16
les tubes traversent les boites de part en part.
-Nota septembre
2006 - lors d'un démontage il s'avère que les boites supportent
mal le
vieillissement (ultra violet ?) je conseille donc de ne pas mégoter
sur la qualité,
voire même de rajouter une couche de peinture "extérieure"

Fabrication de la résistance de 390 ohms à l'aide
de 10 résistances non rayonnantes
sous céramique en parrallèle
Pour les résistances en général je me sers chez Conrad.fr
.
dans la case recherche "mot clé ou code article" vous tapez 410420-71 et vous
tombez sur l'article.

Prête à mettre dans la boite

Insertion d'un transformateur 6/1 provisoire
(ferrite de transfo tht télévision)
Utilisation d'un transformateur 6/1 fabriqué à partir du 4/1 vu plus haut


Après le taillage, le collage !

Nous passons à une partie délicate... l'installation du fil et l'équilibrage des nappes

Erection... si si

La toile est presque tendue...
Gros plan sur la partie centrale. Le fil blanc est une drisse de renfort.

Construction du transformateur à l'aide de deux tubes
ferrite de 50mm de long
Les diamètres intérieur et extérieur sont respectivement
10,5mm et 19mm
Bon suite à de nombreuses demandes.... les ferrites
se trouvent normalement chez Cholet Composants
qui ne sont plus Cholet Composants et qui ne sont plus à Cholet !?!
Cholet composants a déménagé maintenant en Dordogne , pas de site Web, y s'appellent:
Clear Connect Electronics ou Cholet Composants
18 r Richelieu 24660 COULOUNIEIX CHAMIERS
Tel: 05/53/05/43/94 Fax: 05/53/35/41/46
Si vous utilisez du fil émaillé pour les bobinages
il est pratique de les repérer à l'aide
de bagues faites dans du souplisso de couleurs différentes comme sur
la
photo du transformateur 4/1.
Autres rapports de transformation
|
Bleu
|
Rouge
|
Vert
|
Rapport E/S
|
Coax 50 ohms
|
Coax 75 ohms
|
|
1
|
2
|
1
|
1/1
|
50/50
|
75/75
|
|
1.5
|
2
|
1.5
|
2/2,2
|
50/110
|
75/165
|
|
2
|
2
|
2
|
1/4
|
50/200
|
75/300
|
|
2.5
|
2
|
2.5
|
1/6
|
50/300
|
75/450
|
|
3
|
2
|
3
|
1/9
|
50/450
|
75/675
|
|
3.5
|
2
|
3.5
|
1/12
|
50/600
|
75/900
|
|
4
|
2
|
4
|
1/16
|
50/800
|
75/1200
|
Pour toute discussion supplémentaire, me contacter sur 7028 ou 10117....
ou sur
Je réponds avec plaisir à tous les courriels
que je reçois, cependant je suis très attaché à
ma langue natale et à la façon
de l'écrire ou de la parler. De ce fait j'éprouve quelques irritations
devant le style (?!) SMS...
Je ne suis pas allergique à l'anglais puisque je le pratique en radio,
mais à la façon de l'employer "pour-faire-intelligent"
avec
des "praïme taïmes" des "cautches" ou des "tchallindges"
dont les présentateurs de TV nous rebattent les oreilles.
Il existe des mots français que diable, et de grâce, grammaire
et orthographe font partie des programmes élémentaires.
N'oubliez pas non plus l'objet du message, tout message sans objet est détruit.
Les pièces jointes ne sont acceptées que sur préavis.
Site hébergé par
Maj 22 décembre 2008 - F6GWO